欢迎来到CEOB2B晶振平台

咨询热线:

0755-27839045

日产进口晶振 :
KDS晶振KDScrystal
爱普生晶振EPSONcrystal
NDK晶振NDKcrystal
京瓷晶振KyoceraCrystal
精工晶振SEIKOcrystal
西铁城晶振CITIZENcrystal
村田晶振MurataCrystal
大河晶振RiverCrystal
富士晶振FujicomCrystal
SMI晶振SMICrystal
NAKA晶振NAKACrystal
NJR晶振NJRCrystal
中国台产晶振 :
泰艺晶振TAITIENcrystal
TXC晶振TXCcrystal
鸿星晶振HOSONICcrystal
希华晶振SIWARDcrystal
加高晶振HELEcrystal
百利通亚陶晶振DiodesCrystal
嘉硕晶振TSTcrystal
津绽晶振NSKcrystal
玛居礼晶振MERCURYcrystal
应达利晶振Interquip Crystal
AKER晶振
NKG晶振NKGCrystal
欧美石英晶振 :
CTS晶振CTScrystal
微晶晶振Microcrystal
瑞康晶振RakonCrystal
康纳温菲尔德ConnorWinfield
高利奇晶振GolledgeCrystal
Jauch晶振JauchCrystal
AbraconCrystalAbraconCrystal
维管晶振VectronCrystal
ECScrystal晶振ECScrystal
日蚀晶振ECLIPTEKcrystal
拉隆晶振RaltronCrystal
格林雷晶振GreenrayCrystal
SiTimeCrystalSiTimeCrystal
IDTcrystal晶振IDTcrystal
Pletronics晶振PletronicsCrystal
StatekCrystalStatekCrystal
AEK晶振AEKCrystal
AEL晶振AELcrystal
Cardinal晶振Cardinalcrystal
Crystek晶振Crystekcrystal
Euroquartz晶振Euroquartzcrystal
福克斯晶振FOXcrystal
Frequency晶振Frequencycrystal
GEYER晶振GEYERcrystal
ILSI晶振ILSIcrystal
KVG晶振KVGcrystal
MMDCOMP晶振MMDCOMPcrystal
MtronPTI晶振MtronPTIcrystal
QANTEK晶振QANTEKcrystal
QuartzCom晶振QuartzComcrystal
QuartzChnik晶振QuartzChnikcrystal
SUNTSU晶振SUNTSUcrystal
Transko晶振Transkocrystal
WI2WI晶振WI2WIcrystal
韩国三呢晶振SUNNY Crystal
ITTI晶振ITTICrystal
Oscilent晶振OscilentCrystal
ACT晶振ACTCrystal
Lihom晶振LihomCrystal
Rubyquartz晶振RubyquartzCrystal
SHINSUNG晶振SHINSUNGCrystal
PDI晶振PDICrystal
MTI-milliren晶振MTImillirenCrystal
IQD晶振IQDCrystal
Microchip晶振MicrochipCrystal
Silicon晶振SiliconCrystal
富通晶振FortimingCrystal
科尔晶振CORECrystal
NIPPON晶振NIPPONCrystal
NIC晶振NICCrystal
QVS晶振QVSCrystal
Bomar晶振BomarCrystal
百利晶振BlileyCrystal
GED晶振GEDCrystal
菲特罗尼克斯晶振FiltroneticsCrystal
STD晶振STDCrystal
Q-Tech晶振Q-TechCrystal
安德森晶振AndersonCrystal
文泽尔晶振WenzelCrystal
耐尔晶振NELCrystal
EM晶振EMCrystal
彼得曼晶振PETERMANNCrystal
FCD-Tech晶振FCD-TechCrystal
HEC晶振HECCrystal
FMI晶振FMICrystal
麦克罗比特晶振MacrobizesCrystal
AXTAL晶振AXTALCrystal
ARGO晶振
Skyworks晶振
Renesas瑞萨晶振
Dynamic迪拉尼
有源晶振 :
石英晶体振荡器
温补晶振
压控晶振
VC-TCXO晶振
差分晶振
32.768K有源
恒温晶振
贴片晶振 :
5070晶振
6035晶振
5032晶振
3225晶振
2520晶振
2016晶振
1612晶振
1210晶振
8045晶振
32.768K晶振 :
10.4x4.0晶振
8.0x3.8晶振
7.1x3.3晶振
7.0x1.5晶振
5.0x1.8晶振
4.1x1.5晶振
3.2x1.5晶振
2.0x1.2晶振
1.6x1.0晶振
为你解决国内外知名品牌产品料号代码,查询对照

在线品牌会员

当前位置首页 » 新闻动态 » 石英晶振晶片的切型

石英晶振晶片的切型

返回列表 来源:CEOB2B晶振平台 浏览:- 发布日期:2018-06-01 09:42:03【

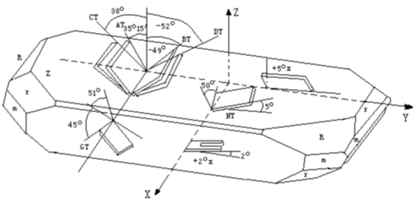
石英晶片对晶体坐标轴某种方位的切割称为石英晶片的切型。由于石英晶体的 各向异性,不同切型的石英片,因其弹性性质,压电性质,温度性质不同,其电 特性和热特性也各异。 

下图表示的是各种切型的位置:

JPQX1

①切型符号表示: 

石英晶体的切型符号有两种表示方法,一种是IRE 标准规定的符号表示法,另一种是石英晶振所特有的习惯符号表示法。IRE 规定的切型符号用一组字母(XYZlWt)和角度表示,用XYZ 中三个字母的先后排列来表示晶片的厚度和长度沿坐标轴的原始方位,用t(厚度)、l(长度)、W(宽度)来表示旋转的方位,角度的正号表示逆时针旋转、负号表示顺时针旋转。 

例:(Yxl)35° 原始晶片角度:Y方向 

                                        原始晶片长度:X方向

绕长度方向(X 轴)逆时针旋转35°即得到晶片的切割方位,(XYtl)5°/-50°厚度t(X 轴)逆时针旋转5°,再绕长度l(Y 轴)顺时针旋转50°,即是压电石英晶体谐振器晶片的切割方位。

JPQX2

无源晶振的习惯符号多数用二个英文大写字母表示,例(YXl)35°切型习惯 符号用AT 表示,(XYtl)5°/-50°用NT 表示。 

②常用石英晶体切型:

JPQX3

在CEOB2B晶振平台上可以查询到国内外一百多家个不同进口晶振品牌的现货库存,以及编码查询,熟悉各种高级SEO操作,快速帮助产品实现排名上升。是一家专业型,集合性,可靠性的领先电子商务平台。是广大生产厂家,企业,采购最佳合作的供应商采购平台,在这里可以任意的搜索台湾,日本,美国,瑞士,英国,法国,英国,新西兰,马来西亚等几十个国家晶振厂家的频率元件产品,并且提供快速的购货渠道。

推荐阅读

    【本文标签】:石英晶振 晶体片的切型
    【责任编辑】:CEOB2B晶振平台版权所有:http://www.jingzhen95.com转载请注明出处